MNVS0003 V-STAY

Part Number: MNVS0003

Login to view pricing and stock information.
Next day delivery available
Quality assured parts

No description available for this product.

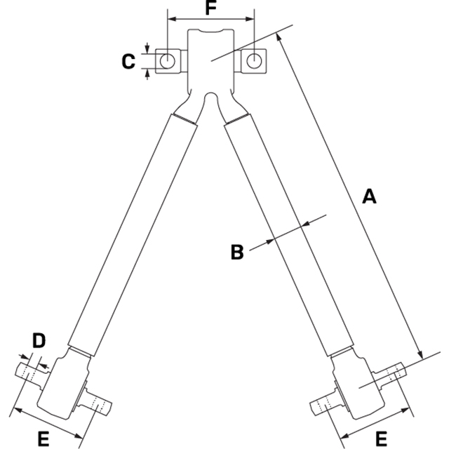
Technical information is available when you sign in.

Added to Order

Your item has been added to your order

View My Order

Add more of this item: